Liikkuva+ -Parempaa arkea jokaiselle
Liikkuva+ on Laattapiste-Pukkilan esteettömien tuotteiden mallisto, josta löydät turvalliset ja testatut ratkaisut sairaaloihin, hoivakoteihin, julkisiin tiloihin sekä koteihin. Liikkuva+ mallisto on suunniteltu tekemään kylpyhuoneista esteettömiä, turvallisia sekä viihtyisiä, sillä jokaisella on oikeus liikkua vapaasti ja elää mukavasti kauniiden, toimivien esteettömien ratkaisujen ympäröimänä.
Tavoitteenamme on rakentaa ympäristöjä, joissa jokainen voi tuntea itsensä itsenäiseksi, turvalliseksi ja arvostetuksi. Liikkuva+ tekee jokapäiväisestä elämästä sujuvampaa ja esteettömämpää tyylikkyydestä tinkimättä.
Millainen on esteetön ympäristö?
Liikkuva+ ratkaisut on suunniteltu kaiken kokoisiin tiloihin tukemaan liikkumista, lisäämään itsenäisyyttä ja helpottamaan hoitotyötä.
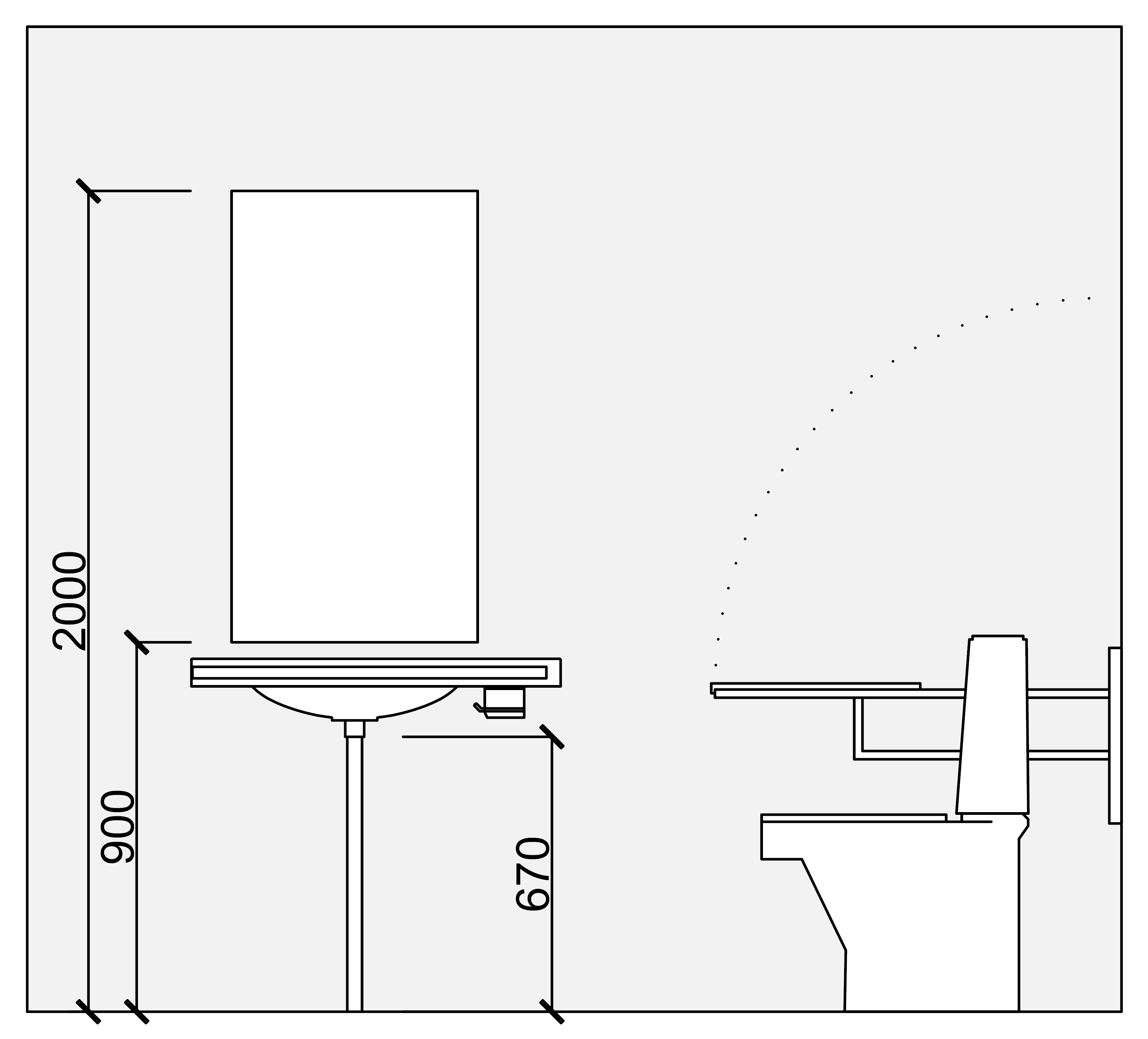
Esteetön kylpyhuone on turvallinen ja käytännöllinen kaikille, riippumatta käyttäjän liikuntarajoitteista tai muista erityistarpeista. Esteettömässä tilassa on riittävästi tilaa liikkumiseen, hyvä valaistus sekä lattia, joka vähentää liukastumisriskiä. Esteettömyys rakentuu tuotteista, jotka tekevät tilan käytöstä sujuvaa ja mahdollistavat itsenäisen arjen.
Kenelle Liikkuva+ on tehty?
Liikkuva+ -mallisto on suunniteltu vastaamaan monenlaisiin käyttäjien ja tilojen tarpeisiin. Se koostuu neljästä tuotevalikoimasta, joista löytyy ratkaisuja ammattilaisille, julkisiin tiloihin ja yksityiskoteihin.
Liikkuva+ sairaalatilat
Korkean hygieniatason antibakteeriset tuotteet täyttävät sairaalatilojen erityisvaatimukset. Niissä on huomioitu kantavuus, kestävyys ja turvallisuus sekä avustajien esteetön ja ergonominen työskentely.
Lue lisääLiikkuva+ hoivakodit
Korkean hygieniatason antibakteeriset ratkaisut on suunniteltu hoivakoteihin, palvelutaloihin ja erityisasumiseen. Ne tukevat asukkaiden itsenäistä ja turvallista liikkumista.
Lue lisääLiikkuva+ julkiset tilat
Tuotteilla luot ympäristön, joka palvelee kaikkia käyttäjiä. Tilassa voi toimia omatoimisesti esimerkiksi pyörätuolin tai rollaattorin kanssa, sekä tarvittaessa myös avustajan kanssa. Valikoimasta löytyy lisäksi eri ikäryhmät huomioivia ratkaisuja aina lastenhoitotiloista ja oppilaitoksiin.
Lue lisääLiikkuva+ kodin tilat
Laaja valikoima tarjoaa esteettömiä ja turvallisia tuotteita, joilla voidaan toteuttaa yksilöllisten toiveiden mukaiset kokonaisuudet kaiken kokoisiin ja näköisiin koteihin. Esteettömyydestä hyötyvät niin toimintarajoitteiset kuin lapsiperheet ja ikääntyneetkin, ja kalustusta voidaan muokata myös myöhemmin tarpeiden muuttuessa.
Lue lisääLiikkuva+ -esite
Laattapiste-Pukkilan esteettömien tuotteiden esitteestä löydät turvalliset ja testatut ratkaisut sairaaloihin, hoivakoteihin, julkisiin tiloihin sekä koteihin.
Tutustu esitteeseen
